用LM317可調集成穩壓器制作的穩壓電源,可以輸出多擋不同的電壓。假如這些多擋不同的輸出電壓值能用數字來指示該有多好呀!一般來說,在簡單的電源電路上增加起輔助作用的復雜數字顯示電路是很不劃算的。然而,本文所述的帶數字顯示的電源不用復雜昂貴的譯碼電路、驅動電路和數碼管,而選用普通發光二極管組成7段數字顯示器,用2×2開關替代譯碼電路,輸出電壓選用最常用的3V和6V兩擋,所以整個電源電路簡單實用,制作容易,不妨一試。
電路工作原理
1.穩壓電路
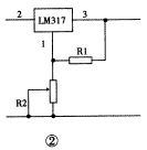
由于采用LM317可調穩壓器,使穩壓電源電路變得十分簡單,見圖1。LM317的輸出電壓范圍為1.25~37V連續可調。LM317的②腳和③腳分別為輸入和輸出端。①腳為調整端。在①、③腳之間接上電阻R1后,可以得到1.25V的基準電壓,并且該基準電壓是不變的。R1取值一般為120Ω~240Ω。假如①腳接地,③腳輸出電壓便是1.25V。如果要得到高于1.25V的輸出電壓,只要在①腳與地之間接上電阻R2(見圖2)。改變R2的阻值便可改變③腳輸出電壓的大小。LM317的輸出電壓Vo決定于R2與R1的比值,即Vo=1.25×(1+R2/R1)。圖1中選定的R2與R3的大小,是為了輸出3V、6V電壓大小而設計的。開關Sa打向左邊時,R2接地,輸出3V;Sa打向右邊時,R2、R3串接后接地,輸出6V。這里R2與R3串接的目的,是為了防止開關Sa觸點接觸不良時,輸出電壓增高及防止穩壓器內部損壞。C1是濾波電容。C2為消振電容,起穩定電路的作用。若電源不是容性負載,C2就可以不接。




2.數顯電路
一個數字可由7段筆劃組成,見圖3。如果用發光二極管替代這7段筆劃,那就只需接通不同筆段中發光二極管的電源,便可以顯示數字了。例如數字3,用了a、b、c、d、g五個筆段;數字6,用了a、c、d、e、f、g六個筆段。用一只1×2的開關,去控制b段和e、f段,就可以實現數字3與6之間的轉換,見圖1上半部分。


元器件選擇
電源變壓器的次級電壓要求為12V~18V。四只整流二極管選用1N4001型,或用橋堆替代。集成穩壓器有很多廠家生產,除LM317外,SW317等均可使用。如果負載為幾百毫安時,還需加置散熱板。七只發光二極管選用扁方形(如2×5)的較之圓形的顯示效果要好些。顏色隨各人愛好選用,通常紅色的效果好些。3V、6V電壓轉換開關用2×2小型撥動開關,其中一半用于電壓轉換(Ka),另一半用于顯示轉換(Kb)。其余阻容元件無特殊要求。
制作與調試
制作時,穩壓電源LM317的三個腳不要接錯,參見圖4。接通電源后,先測量一下電源變壓器的次級應有12V交流電壓輸出。經整流、濾波后,在LM317的②腳對地要有15V左右的直流電壓。若轉換電壓開關,LM317的③腳應分別有3V、6V直流電壓輸出。否則要檢查裝置是否有錯,元件是否完好。選擇6V直流電壓輸出時,要接上一個0.3A、6V的小電珠作負載,6V電壓不應有下跌。




圖5為數顯電路部分印刷電路板。要注意數字指示部分的發光二極管的極性不能接錯,否則數字會缺筆劃。2×2開關中電壓部分的3V要與顯示部分的3V相對應,否則輸出電壓是3V,指示卻是6V。為了增強顯示效果,可以在7個發光二極管的前面加上一張半透明的紙或有機玻璃,遮住未發光的b段或e、f段,使數字顯示效果更加明顯。
烜芯微專業制造二極管,三極管,MOS管,橋堆等20年,工廠直銷省20%,4000家電路電器生產企業選用,專業的工程師幫您穩定好每一批產品,如果您有遇到什么需要幫助解決的,可以點擊右邊的工程師,或者點擊銷售經理給您精準的報價以及產品介紹
烜芯微專業制造二極管,三極管,MOS管,橋堆等20年,工廠直銷省20%,4000家電路電器生產企業選用,專業的工程師幫您穩定好每一批產品,如果您有遇到什么需要幫助解決的,可以點擊右邊的工程師,或者點擊銷售經理給您精準的報價以及產品介紹

