MOS管工作原理圖詳解
MOS管是FET的一種(另一種是JFET),可以被制造成增強型或耗盡型,P溝道或N溝道共4種類型,但實際應用的只有增強型的N溝道MOS管和增強型的P溝道MOS管,所以通常提到NMOS,或者PMOS指的就是這兩種。
對于這兩種增強型MOS管,比較常用的是NMOS。原因是導通電阻小,且容易制造。所以開關電源和馬達驅動的應用中,一般都用NMOS。下面的介紹中,也多以NMOS為主。
MOS管的三個管腳之間有寄生電容存在,這不是我們需要的,而是由于制造工藝限制產生的。寄生電容的存在使得在設計或選擇驅動電路的時候要麻煩一些,但沒有辦法避免,后邊再詳細介紹。
在MOS管工作原理圖上可以看到,漏極和源極之間有一個寄生二極管。這個叫體二極管,在驅動感性負載(如馬達),這個二極管很重要。順便說一句,體二極管只在單個的MOS管中存在,在集成電路芯片內部通常是沒有的。
MOS管工作原理圖電源開關電路詳解
這是該裝置的核心,在介紹該部分工作原理之前,先簡單解釋一下MOS的工作原理圖。


它一般有耗盡型和增強型兩種。本文使用的為增強型MOS
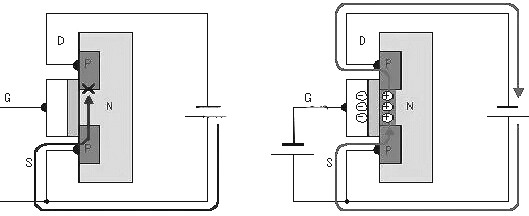
MOS管,其內部結構見mos管工作原理圖。它可分為NPN型PNP型。NPN型通常稱為N溝道型,PNP型也叫P溝道型。由圖可看出,對于N溝道的場效應管其源極和漏極接在N型半導體上,同樣對于P溝道的場效應管其源極和漏極則接在P型半導體上。我們知道一般三極管是由輸入的電流控制輸出的電流。但對于場效應管,其輸出電流是由輸入的電壓(或稱電場)控制,可以認為輸入電流極小或沒有輸入電流,這使得該器件有很高的輸入阻抗,同時這也是我們稱之為場效應管的原因。


為解釋MOS管工作原理圖,我們先了解一下僅含有一個P—N結的二極管的工作過程。如圖所示,我們知道在二極管加上正向電壓(P端接正極,N端接負極)時,二極管導通,其PN結有電流通過。這是因為在P型半導體端為正電壓時,N型半導體內的負電子被吸引而涌向加有正電壓的P型半導體端,而P型半導體端內的正電子則朝N型半導體端運動,從而形成導通電流。同理,當二極管加上反向電壓(P端接負極,N端接正極)時,這時在P型半導體端為負電壓,正電子被聚集在P型半導體端,負電子則聚集在N型半導體端,電子不移動,其PN結沒有電流通過,二極管截止。


對于MOS管(見圖),在柵極沒有電壓時,由前面分析可知,在源極與漏極之間不會有電流流過,此時MOS管與截止狀態(圖a)。當有一個正電壓加在N溝道的MOS管。
MOS管柵極上時,由于電場的作用,此時N型半導體的源極和漏極的負電子被吸引出來而涌向柵極,但由于氧化膜的阻擋,使得電子聚集在兩個N溝道之間的P型半導體中(見圖b),從而形成電流,使源極和漏極之間導通。我們也可以想像為兩個N型半導體之間為一條溝,柵極電壓的建立相當于為它們之間搭了一座橋梁,該橋的大小由柵壓的大小決定。圖給出了P溝道的MOS管。


MOS管工作原理圖工作過程,其工作原理類似這里不再重復。


下面簡述一下用C-MOS場效應管(增強型MOS管)組成的應用電路的工作過程(見圖)。電路將一個增強型P溝道MOS管和一個增強型N溝道MOS場效應管組合在一起使用。當輸入端為低電平時,P溝道MOS管導通,輸出端與電源正極接通。當輸入端為高電平時,N溝道MOS場效應管導通,輸出端與電源地接通。在該電路中,P溝道MOS場效應管和N溝道MOS場效應管總是在相反的狀態下工作,其相位輸入端和輸出端相反。通過這種工作方式我們可以獲得較大的電流輸出。同時由于漏電流的影響,使得柵壓在還沒有到0V,通常在柵極電壓小于1到2V時,MOS場效應管既被關斷。不同場效應管其關斷電壓略有不同。也正因為如此,使得該電路不會因為兩管同時導通而造成電源短路。


由以上分析我們可以畫出mos管工作原理圖中MOS管電路部分的工作過程(見圖)。工作原理同前所述。
MOS管應用電路
MOS管最顯著的特性是開關特性好,所以被廣泛應用在需要電子開關的電路中,常見的如開關電源和馬達驅動,也有照明調光。
現在的MOS驅動,有幾個特別的需求:
1、低壓應用
當使用5V電源,這時候如果使用傳統的mos管工作原理圖圖騰柱結構,由于三極管的be有0.7V左右的壓降,導致實際最終加在gate上的電壓只有4.3V。這時候,我們選用標稱gate電壓4.5V的MOS管就存在一定的風險。
同樣的問題也發生在使用3V或者其他低壓電源的場合。
2、寬電壓應用
輸入電壓并不是一個固定值,它會隨著時間或者其他因素而變動。這個變動導致PWM電路提供給MOS管的驅動電壓是不穩定的。
為了讓MOS管在高gate電壓下安全,很多MOS管內置了穩壓管強行限制gate電壓的幅值。在這種情況下,當提供的驅動電壓超過穩壓管的電壓,就會引起較大的靜態功耗。
同時,如果簡單的用電阻分壓的原理降低gate電壓,就會出現輸入電壓比較高的時候,MOS管工作良好,而輸入電壓降低的時候gate電壓不足,引起導通不夠徹底,從而增加功耗。
3、雙電壓應用
在一些控制電路中,邏輯部分使用典型的5V或者3.3V數字電壓,而功率部分使用12V甚至更高的電壓。兩個電壓采用共地方式連接。
這就提出一個要求,需要使用一個電路,讓低壓側能夠有效的控制高壓側的MOS管,同時高壓側的MOS管也同樣會面對1和2中提到的問題。
在這三種情況下,圖騰柱結構無法滿足輸出要求,而很多現成的MOS驅動IC,似乎也沒有包含gate電壓限制的結構。
于是我設計了一個相對通用的電路來滿足這三種需求。
mos管工作原理圖如下:
用于NMOS的驅動電路


用于PMOS的驅動電路


NMOS驅動電路做一個簡單分析
Vl和Vh分別是低端和高端的電源,兩個電壓可以是相同的,但是Vl不應該超過Vh。
Q1和Q2組成了一個反置的圖騰柱,用來實現隔離,同時確保兩只驅動管Q3和Q4不會同時導通。
R2和R3提供了PWM電壓基準,通過改變這個基準,可以讓電路工作在PWM信號波形比較陡直的位置。
Q3和Q4用來提供驅動電流,由于導通的時候,Q3和Q4相對Vh和GND最低都只有一個Vce的壓降,這個壓降通常只有0.3V左右,大大低于0.7V的Vce。
R5和R6是反饋電阻,用于對gate電壓進行采樣,采樣后的電壓通過Q5對Q1和Q2的基極產生一個強烈的負反饋,從而把gate電壓限制在一個有限的數值。這個數值可以通過R5和R6來調節。
最后,R1提供了對Q3和Q4的基極電流限制,R4提供了對MOS管的gate電流限制,也就是Q3和Q4的Ice的限制。必要的時候可以在R4上面并聯加速電容。
這個電路提供了如下的特性:
1,用低端電壓和PWM驅動高端MOS管。
2,用小幅度的PWM信號驅動高gate電壓需求的MOS管。
3,gate電壓的峰值限制
4,輸入和輸出的電流限制
5,通過使用合適的電阻,可以達到很低的功耗。
6,PWM信號反相。NMOS并不需要這個特性,可以通過前置一個反相器來解決。
在設計便攜式設備和無線產品時,提高產品性能、延長電池工作時間是設計人員需要面對的兩個問題。DC-DC轉換器具有效率高、輸出電流大、靜態電流小等優點,非常適用于為便攜式設備供電。
DC-DC轉換器設計技術發展主要趨勢:
(1)高頻化技術:隨著開關頻率的提高,開關變換器的體積也隨之減小,功率密度也得到大幅提升,動態響應得到改善。小功率DC-DC轉換器的開關頻率將上升到兆赫級。
(2)低輸出電壓技術:隨著半導體制造技術的不斷發展,微處理器和便攜式電子設備的工作電壓越來越低,這就要求未來的DC-DC變換器能夠提供低輸出電壓以適應微處理器和便攜式電子設備的要求。
這些技術的發展對電源芯片電路的設計提出了更高的要求。首先,隨著開關頻率的不斷提高,對于開關元件的性能提出了很高的要求,同時必須具有相應的開關元件驅動電路以保證開關元件在高達兆赫級的開關頻率下正常工作。其次,對于電池供電的便攜式電子設備來說,電路的工作電壓低(以鋰電池為例,工作電壓 2.5~3.6V),因此,電源芯片的工作電壓較低。
MOS管具有很低的導通電阻,消耗能量較低,在目前流行的高效DC-DC芯片中多采用MOS管作為功率開關。但是由于MOS管的寄生電容大,一般情況下 NMOS開關管的柵極電容高達幾十皮法。這對于設計高工作頻率DC-DC轉換器開關管驅動電路的設計提出了更高的要求。
在低電壓ULSI設計中有多種CMOS、BiCMOS采用自舉升壓結構的邏輯電路和作為大容性負載的驅動電路。這些電路能夠在低于1V電壓供電條件下正常工作,并且能夠在負載電容1~2pF的條件下工作頻率能夠達到幾十兆甚至上百兆赫茲。本文正是采用了自舉升壓電路,設計了一種具有大負載電容驅動能力的,適合于低電壓、高開關頻率升壓型DC-DC轉換器的驅動電路。電路基于Samsung AHP615 BiCMOS工藝設計并經過Hspice仿真驗證,在供電電壓1.5V ,負載電容為60pF時,工作頻率能夠達到5MHz以上。
MOS開關管損失
不管是NMOS還是PMOS,導通后都有導通電阻存在,這樣電流就會在這個電阻上消耗能量,這部分消耗的能量叫做導通損耗。選擇導通電阻小的MOS管會減小導通損耗。現在的小功率MOS管導通電阻一般在幾十毫歐左右,幾毫歐的也有。
MOS在導通和截止的時候,一定不是在瞬間完成的。MOS兩端的電壓有一個下降的過程,流過的電流有一個上升的過程,在這段時間內,MOS管的損失是電壓和電流的乘積,叫做開關損失。通常開關損失比導通損失大得多,而且開關頻率越快,損失也越大。
導通瞬間電壓和電流的乘積很大,造成的損失也就很大。縮短開關時間,可以減小每次導通時的損失;降低開關頻率,可以減小單位時間內的開關次數。這兩種辦法都可以減小開關損失。


上圖是MOS管工作原理圖導通時的波形。可以看出,導通瞬間電壓和電流的乘積很大,造成的損失也就很大。降低開關時間,可以減小每次導通時的損失;降低開關頻率,可以減小單位時間內的開關次數。這兩種辦法都可以減小開關損失。
MOS管發熱原因分析
一款路由產品的硬件開發中,其中一項是客戶需要非標準POE供電,可輸出的POE供電電壓為12/24/30/48V切換,最大輸出功率設計為24W,電路采用反激式電源方案(電源芯片MP3910,芯片廠商提供方案),在調試該部分電路時出現MOS管(NMOS,SUD50N06)發熱嚴重,輸出電壓非帶載時正常,帶載時(開始帶載50%),MOS管發熱嚴重,輸出電壓被拉低,不論是輸出哪一路電壓,輸出只有9V左右,TLV431的穩壓值只有1V左右(正常選擇的型號Vref=2.5V),開始一直覺得問題出在TLV431上,后來換了板子竟發現可以正常穩壓(應該是上一個板子變壓器和MOS管出現問題,但沒回去驗證),但是mos管很燙,帶載不到十秒鐘就會冒煙,后來經過與芯片方案的FAE溝通才發現,MSP3910的驅動MOS管的引腳gate腳與MOS管之間的限流電阻用錯物料,mos管工作原理圖是4.99歐,但實際用的是4.99K,更換電阻后可輸出正常電壓,MOS管也不會很燙。


下面是解決問題思路:
一、用示波器觀察所用MOS管的G極波形,如圖一所示 ,上升時間接近1.32us,下降時間接近<160ns(實測50ns),再看如圖二所示的手冊中對MOS驅動上升下降沿要求,上升時間要求<35ns,下降時間<80ns,可得結論:上升時間過長導致MOS管工作為線性狀態,非開關狀態(參看總結一),MOS管開通過程時間太長直接導致了MOS管的發熱嚴重。
二、解決:更換驅動限流電阻(圖二中Rg),由于當時手里當時沒有4.99歐電阻,更換為22歐的電阻后,G極波形如圖三所示,Ton和Toff已經接近圖二要求的時間,MOS管24V時帶載27歐,輸出功率21.3W,輸出電壓正常,MOS管基本不發熱。
總結一:MOS管發熱原因小結
1、電路設計的問題,就是讓MOS管工作在線性的工作狀態,而不是在開關狀態。這也是導致MOS管發熱的一個原因。如果N-MOS做開關,G級電壓要比電源高幾V,才能完全導通,P-MOS則相反。沒有完全打開而壓降過大造成功率消耗,等效直流阻抗比較大,壓降增大,所以U*I也增大,損耗就意味著發熱。這是設計電路的最忌諱的錯誤;(本次產品測試問題點雖然不是出在電路設計上,但BOM做錯比設計錯誤往往更難分析)
2、頻率太高,主要是有時過分追求體積,導致頻率提高,MOS管上的損耗增大了,所以發熱也加大了;
3、沒有做好足夠的散熱設計,電流太高,MOS管標稱的電流值,一般需要良好的散熱才能達到。所以ID小于最大電流,也可能發熱嚴重,需要足夠的輔助散熱片;
4、MOS管的選型有誤,對功率判斷有誤,MOS管內阻沒有充分考慮,導致開關阻抗增大。
總結二:MOS管工作狀態分析
MOS管工作狀態有四種,開通過程、導通狀態、關斷過程,截止狀態;
MOS管主要損耗:開關損耗,導通損耗,截止損耗,還有雪崩能量損耗,開關
損耗往往大于后者;
MOS管主要損壞原因:過流(持續大電流或瞬間超大電流),過壓(D-S,G-S被擊穿),靜電(個人認為可屬于過壓);
總結三:MOS管工作過程分析
MOS管工作過程非常復雜,里面變量很多,總之開關慢不容易導致米勒震蕩(介紹米勒電容,米勒效應等,很詳細),但開關損耗會加大,發熱大;開關的速度快,損耗會減低,但是米勒震蕩很厲害,反而會使損耗增加。驅動電路布線和主回路布線要求很高,最終就是尋找一個平衡點,一般開通過程不超過1us;
總結四:MOS管的重要參數及選型
Qgs:柵極從0V充電到對應電流米勒平臺時總充入電荷,這個時候給Cgs充電(相當于Ciss,輸入電容);
Qgd:整個米勒平臺的總充電電荷(不一定比Qgs大,僅指米勒平臺);
Qg:總的充電電荷,包含Qgs,Qgd,以及之外的其它;
上述三個參數的單位是nc(納庫),一般為幾nc到幾十nc;
Rds(on):導通內阻,這個耐壓一定情況下,越小損耗;
總的選型規則:Qgs、Qgd、Qg較小,Rds(on)也較小的管。
〈烜芯微/XXW〉專業制造二極管,三極管,MOS管,橋堆等,20年,工廠直銷省20%,上萬家電路電器生產企業選用,專業的工程師幫您穩定好每一批產品,如果您有遇到什么需要幫助解決的,可以直接聯系下方的聯系號碼或加QQ/微信,由我們的銷售經理給您精準的報價以及產品介紹
聯系號碼:18923864027(同微信)
QQ:709211280

